Construction Documents of the Patscenter, Page 2

Construction Documents

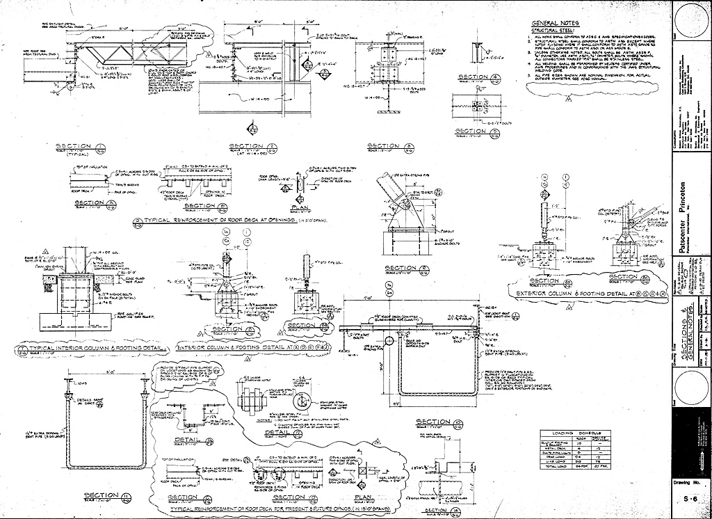
Structurals, Page 2


Sections and General Notes, Drawing S6

Section
Drawing S6-1, typical detail at clear span at spine

Typical Reinforcement of Roof Deck at Openings
Drawing S6-6

Typical Interior Column and Footing Detail
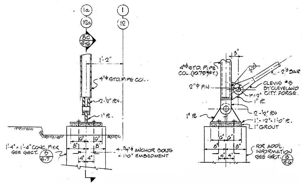
Drawing S6-7

Exterior Column and Footing Detail
Drawing S6-8

Section
Drawing S6-9, at exterior bracing member

Sections and General Notes
Full Document: 1M JPEG

Sections and General Notes
Full Document: 1M TIFF, LZW compressed


Foundation Sections and Details, Drawing S7

Section
Drawing S7-1, section at perimeter trench

Typical Interior Column Foundation
Drawing S7-3

Section
Drawing S7-5, section at exterior column foundation

Section
Drawing S7-6

Section
Drawing S7-7, section at perimeter trench

Section
Drawing 7-11, section at foundation

Foundation Sections and Details
Full Document: 1M JPEG

Foundation Sections and Details
Full Document: 1M TIFF, LZW compressed


To the next page of Construction Documents (Architecturals)


Back to The PatCenter Main Menu