Curtainwalls
Pepsi-Cola Company
New York, 1955
S.O.M.
Curtain Wall
Curtain Wall
Unit System
Bank of China
Hong Kong, 1982-90
I.M. Pei
Hong Kong Bank
Hong Kong Bank
Detail
Hong Kong Bank
Ground Level
Financial Times Building
London, 1987
Grimshaw
860 Lakeshore Drive
Construction
860 Lakeshore Drive
Chicago, 1951
Mies van der Rohe
Lever House
New York, 1951
S.O.M.
Curtain Wall
Sealant
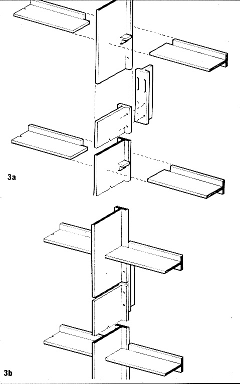
Unit System
Unit System
Unit System
Unit System
-
-
Unit System
Reinforcement
-
-
Spandrel and Infill
-
-
Spandrel and Infill
-
-
Spandrel and Infill
-
-
Spandrel and Infill
-
-
Spandrel and Infill
-
-
Fireproofing
-
-
Fireproofing
-
-
Fireproofing
-
-
Fireproofing
-
-
Stick System
Sleeve Joint
-
-
Stick System
-
-
Curtain Wall
Unit System
-
-
Curtain Wall
Sealant
-
-
Curtain Wall
Sealant
-
-
Curtain Wall
Sealant
-
-
Gasket
-
-
Facade Degradation
-
-
Alcoa Building
-
-
Equitable Building
-
-
Frame and Infill
-
-
Frame and Infill
-
-
Spandrel and Infill
-
-
rainsc.jpg